フェラーリ 外装部品 入荷しました!!!

昨日に続いてフェラーリの外装部品が入荷しました。
まずは フェラーリ355 の前期・後期に使われているフロントロアガード左側になります。
パーツナンバーが何度か変わっていたようですが…
値段自体はそれほど高くもなく…
フェラーリにしては良心的な値段になっています。



パーツリストで見ると4番の左になります。
赤く塗りつぶされているものですね。 →→→



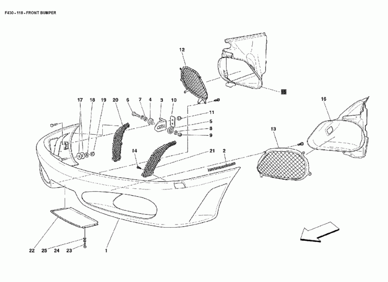
続いて フェラーリ430クーペ・スパイダー に使われている
フロントバンパーの奥にあるエアインレットの右側です。
塗りつぶされていて見えにくいですが…
パーツリストでは15番となります。 →→→
こちらもフェラーリの部品にして高くはないのかな…?
この仕事をしていますと高い安いの感覚がときどき
おかしくなりますね。
このところ外装部品のお問合せご注文を
たくさん頂戴しています。
ありがとうございます。
お客様よりご注文いただきました外装部品など
まだまだご紹介しきれないほどありますので、
随時ブログにアップしていきたいと思いますので……乞うご期待!!!!!
フェラーリ部品のご用命は是非、ティウエストまでどうぞ!!!
※この記事には掲載当時の情報が含まれます。現在の在庫・価格・供給可否は変動している場合があります。最新情報はお問い合わせフォームからご確認ください。